Determine your Value Metric, Determine your customer profiles and segments, User research + experimentation … et plein de trĂšs bons conseils
Jean-Philippe Encausse
Je vous recommande la communauté Magma trÚs dynamique ! La tendance L'athflow est intéressante !
J'ai confiance dans 23AndMe, reste Ă voir ce que va donner cette entrĂ©e en bourse … Comme la news est assez rĂ©cente j'achĂšte 200 VGAC pour participer au SPAC (nouvelle expĂ©rience financiĂšre)
Une liste pratique et officielle des hébergeur et de leur certification santé.
Intéressant le terme de Supply Chain as a Service (SCaaS) ce que fait déjà Amazon.
Je ne comprends pas pourquoi l'action est toujours autant boudĂ©e (mĂȘme si Jack Ma a +/- disparu)
Pour l'avoir testé, je crois énormément dans Impossible Food et Beyond Meat dans la Junk Food. Mais quand re-rentrer sur l'action ?
Conclusion, j'ai refait ma cuisine comme le reste du monde :-)
Le secteur du podcast toujours en plein boom. De plus en plus d'acteurs qui ciblent le B2B
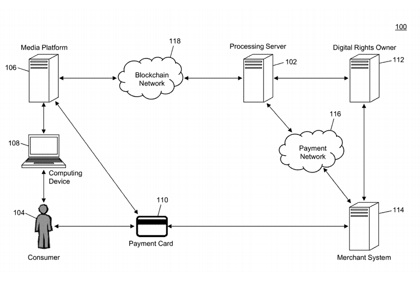
Super interessant de voir Mastercard comme tiers de confiance "neutre" sur la gestion de droit des medias.