
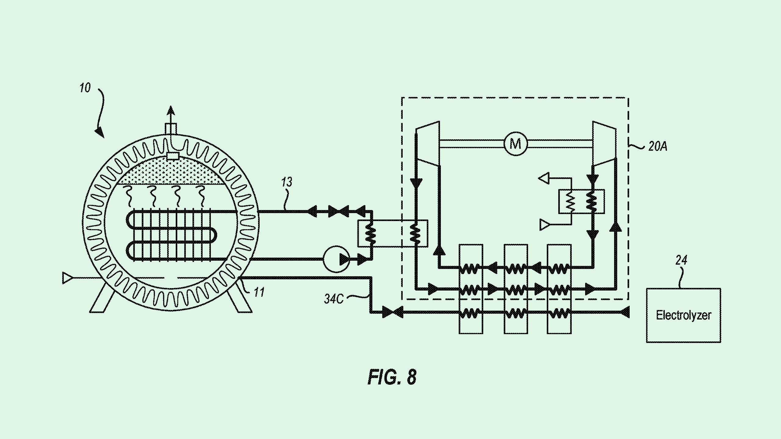
Microsoft envisage d'utiliser l'énergie cryogénique pour alimenter ses centres de données, selon un brevet récemment déposé. L'entreprise cherche à breveter des systèmes de stockage d'énergie cryogénique interactifs avec le réseau. Ceux-ci permettraient de stocker correctement les cryogènes, des substances refroidies à des températures extrêmement basses, pour les utiliser comme source d'énergie, au lieu de dépendre de l'énergie du réseau traditionnel. Microsoft suggère que cette technologie pourrait être utilisée pour les centres de données ou d'autres opérations gourmandes en énergie qui dépendent généralement de générateurs diesel à haut niveau de pollution comme source d'énergie de secours lorsque l'énergie du réseau ne suffit pas. La société a des objectifs climatiques ambitieux, visant à devenir négative en carbone d'ici 2030 et à éliminer l'équivalent de ses émissions historiques d'ici 2050.
via PatentDrop : lire l’article source



Laisser un commentaire