Enorme de résoudre le pain point des escalier !

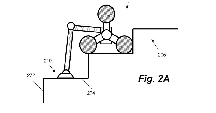
Dyson is best known for its vacuum cleaners, but it’s branched into other areas in recent years. Two patent filings show a robot hand and a stair-climbing vacuum, but it’s not clear if these are products that will ever come to market.
via TheVerge : lire l’article source



Laisser un commentaire