Hyper intéressant de voir apparaitre de l'équipement de magasin "intelligent" là ou avant on avait juste des add-on permettant de tracker les consommateurs.

If you’re as clueless as me, you might not have known what a retail merchandise fixture is. They are pieces of equipment or furniture used to display products you see in a store. If you’re interested in diving down a rabbit hole, here are are some examples of different types of fixtures.
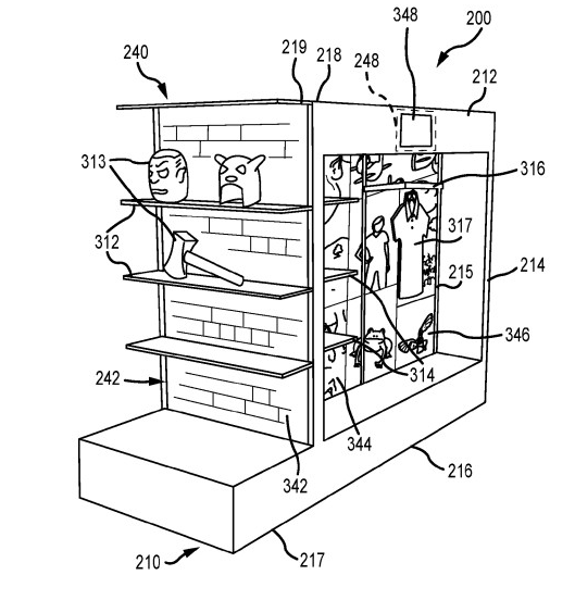
This new Disney filing describes smart merchandise fixtures with visual and audio outputs that can be programmed, monitored and controlled remotely.
Retail fixtures are generally important for getting a customer’s attention, telling the story of a brand’s product, and driving a sale. However, the tools available for designing these fixtures is generally limited and static.
In a smart merchandise fixture, as imagined by Disney, each fixture could become a digital canvas where designers can create and iterate upon the visual displays, the sounds and the lighting.
One use-case imagined is the fixture being designed for physical interactions with displayed products, and digital interactions through a platform designed like e-commerce apps.
For example, let’s say you pick up a Disney t-shirt on the fixture. A screen attached to the fixture could then show all of the other colours and sizes available so that consumers can find the right item, and then add it to their shopping basket (or just get it delivered straight to their home). This makes the physical retail store a blended experience where physical items can be seen, but more varied inventory can be shown through digital screens.
In the future, we can imagine these fixtures containing digital displays that have ‘smart mirrors’ that allow users to browse through different digital items and superimpose it on their body like an AR filter, all within store.
One controversial aspect to the filing is the idea for the fixtures to be equipped with cameras to monitor the merchandise being looked at and how customers are interacting with the items, as well as microphones to capture customer conversations.
Putting all of this together, Disney’s smart fixtures make retail stores a platform for the rapid A/B testing of merchandise and visual displays. Retail stores start generating a lot of data in terms of how customers interact with items – both audio and visual.
Overall, Disney seems to be opening up the magic of their storytelling and apply it to the world of physical retail.
via Patent Drop : lire l’article source



Laisser un commentaire