Intéressant les gestes pour contrôler les lumières
Jean-Philippe Encausse
C'est bien, encore plus de bullshit qu'il faudra décortiquer :-)
J'aime bien cette rĂ©invention du NĂ©on, et les possibilitĂ©s. Philips avec son dernier LightStrip est complètement Ă la ramasse …
Trop trop cool !
Bon c'est pas sec … mais ça montre une volontĂ© d'avoir de la flexibilitĂ© partout !
Juste un capteur IR avec bcp de Marketing … que fout Fibaro ?! Manque un capteur de bruit …
C'est moche ? Et ça a intĂ©rĂŞt a ĂŞtre resilient … j'espère que c'est du LoRa
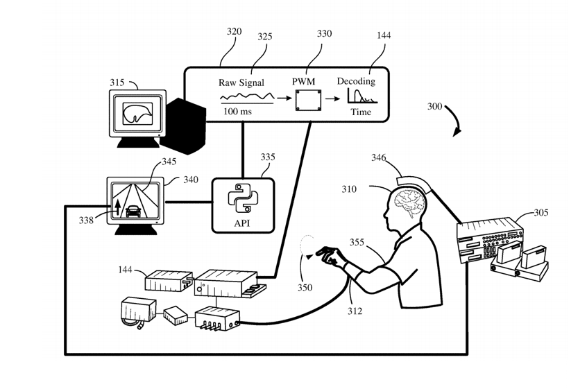
Voilà le lien entre Virtuel et Réel
En gros MiniLED c'est "juste" le backlight alors que MicroLED c'est vraiment le pixel ? D'oĂą le prix x50 :-)
Intéressant ! Ca aurait eu du sens dans un de mes projets en usine ;-)