Et c'est GHVI le SPACs avec merge le 20 Juillet ;-)
Jean-Philippe Encausse
Intéressant ! Ca aurait eu du sens dans un de mes projets en usine ;-)
The Reading Sidekick Alexa will listen to the childâs reading and automatically assist with pronunciations or other challenges while reading the book.
Dingue la quantité d'info sur une image, il faudrait vraiment l'intégrer à Youtube afin d'avoir des timecode/tag
Pour obtenir des (vraies) réponses aux études "quanti" ils utilisent Tastewise spécialisé dans les food trends via NLP
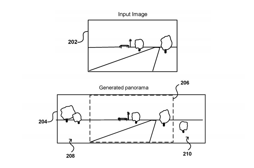
AprÚs les GAN pour la vidéo conférence, les landscapes en VR
SynthĂšse avec des exemples concrets et pragmatiques
Bluffant !
Un aspi avec des bras fragiles et une tablette … mauvais CM, pricing, …
A l'Ă©poque c'Ă©tait plus beau, plus contemplatif, immersif, lent … là ça fait jeu cheap et moche en 3D …